20 December 2022, Volume 33 Issue 6
    

  • Select all
    |
    Experimental Study
  • ZHAO Mei-jie, GUO Ning-ning, LIU Qi-yong, JIN Hua-feng, MENG Feng-xia, LIU Xiao-bo, GUO Yu-hong
    Chinese Journal of Vector Biology and Control. 2022, 33(6): 771-775. https://doi.org/10.11853/j.issn.1003.8280.2022.06.001
    Abstract ( ) Download PDF ( )   Knowledge map   Save
    Objective By simulating low temperature, the parameters of the life table of Aedes aegypti mosquitoes at various developmental stages were studied to understand their population dynamics. Methods Laboratory Ae. aegypti from Danzhou city, Hainan province, China were reared at low temperature, and the development time and survival in all life stages and the oviposition of Ae. aegypti were recorded. The survival rate in all life stages was calculated, and the population dynamics was obtained by drawing a life table. Results At 17 °C, the hatching rate, pupation rate, eclosion rate, and maturation rate of Ae. aegypti were (14.83±1.53)%, (85.73±3.92)%, (96.11±5.71)%, and (13.43±0.90)%. The pre-adult development time of female and male Ae. aegypti was (18.17±0.67) and (17.82±0.36) d, respectively. The development time of the 1st and 4th instar larvae was longer than that of the 2nd and 3rd instar larvae, and the development time of the 4th instar larvae was the longest with (5.43±0.93) d. The adult sex ratio (female: male) was 0.43±0.03; the net productivity was 41.13±0.40; the intrinsic growth rate was 0.11±0.01; the generation span was (32.66±3.23) d; the finite rate of increase was (1.12±0.01)/d. The proportion of stable age was (88.11±1.97)% in the larval stage and (11.89±1.97)% in the adult stage. The proportion of stable age over 11 d for adult mosquitoes was (21.32±2.42)% and (78.68±2.42)% with stable age less than 11 d. The instantaneous birth rate was 0.13±0.01, and the instantaneous death rate was 0.02±0.00. Conclusion Ae. aegypti can complete its life cycle at 17 °C. The egg hatching rate is low, indicating that the egg stage may be a critical stage affecting the development of Ae. aegypti at low temperature, and it may be the key impact factor which limits spreading toward lower temperature areas for Ae. aegypti. At 17 °C, Ae. aegypti mosquito has low activity capacity, prolongs the development time of each stage. The longer adult stage may increase the chance of virus infection and transmission. The vector efficiency should be evaluated in combination with growth potential, activity, and biting ability
  • DENG Hui, LIU Li-ping, GAO Ke, DUAN Jin-hua, CHEN Zong-jing, LU Rui-peng, SHEN Xiu-ting, YIN Wei-xiong, QIN Bing, WU Jun, LIN Li-feng
    Chinese Journal of Vector Biology and Control. 2022, 33(6): 776-780. https://doi.org/10.11853/j.issn.1003.8280.2022.06.002
    Abstract ( ) Download PDF ( )   Knowledge map   Save
    Objective To determine and evaluate the effect of the BG-home mosquito trap for Aedes albopictus, Ae. aegypti, and Culex pipiens quinquefasciatus by laboratory simulation experiments. Methods In a standard glass test room of 28 m3 in volume, mosquito trapping experiments were performed using BG-home, in the presence or absence of blue light, in combination with each of the attractants BG-homescent, BG-sweetscent, and Yousida (Qianyiduo Co., Ltd., Foshan, China) or no attractant. After 24 hours, we counted the number of captured mosquitoes in the experimental groups and the number of dead mosquito in the blank control group. The capture rate was corrected using the Abbott formula to evaluate the trapping effect. Results The mean capture rates of Ae. albopictus, Ae. aegypti, and Cx. pipiens quinquefasciatus were: 94.00%, 93.33%, and 81.27%, respectively, by BG-homescent with blue light; 90.97%, 90.00%, and 75.67%, respectively, by BG-homescent without blue light; 86.53%, 80.67%, and 70.57%, respectively, by BG-sweetscent with blue light; 83.50%, 76.67%, and 67.00%, respectively, by BG-sweetscent without blue light; 88.47%, 66.00%, and 59.67%, respectively, by Yousida with blue light; 84.75%, 63.33%, and 52.33%, respectively, by Yousida without blue light; 38.00%, 22.67%, and 62.33%, respectively, by attractant-free BG-home with blue light; 35.33%, 20.00%, and 22.33%, respectively, by attractant-free BG-home without blue light. Conclusion With the above three attractants, BG-home had the best trapping effect for Ae. albopictus, followed by Ae. aegypti. Blue light significantly enhanced its trapping effect for Cx. pipiens quinquefasciatus without the use of attractants. BG-home combined with attractants shows a good trapping effect for common mosquitoes, especially Aedes species, which can be used for mosquito surveillance and control in dengue prevention and control.
  • GUAN Qing-qing, DAI Yu-qi, QIN Sheng-feng, QIAN Kun
    Chinese Journal of Vector Biology and Control. 2022, 33(6): 781-786. https://doi.org/10.11853/j.issn.1003.8280.2022.06.003
    Abstract ( ) Download PDF ( )   Knowledge map   Save
    Objective To investigate the response characteristics of arginine kinase genes CpAK1 and CpAK2 of Culex pipiens pallens to temperature and humidity stresses. Methods Real-time quantitative PCR and Western blot were used to determine the mRNA and protein levels in adult Cx. pipiens pallens under 38 ℃/4 ℃ and 100%/20% relative humidity. Results CpAK1 mRNA level was up-regulated 3.46 and 3.53 folds at 38 ℃ and 4 ℃, respectively, and peaked at 6 h at both temperatures. CpAK2 mRNA level was statistically down-regulated at 38 ℃ and 4 ℃ (P<0.05). The protein levels of CpAK1 and CpAK2 showed similar trends to their mRNA levels at 38 ℃ and 4 ℃. At 20% relative humidity, CpAK1 mRNA expression was statistically up-regulated 4.30 folds at 6 h (P<0.05), while CpAK2 mRNA level was down-regulated to 45.45% at 12 h. At 100% relative humidity, CpAK1 mRNA expression showed no significant change, while CpAK2 mRNA level was statistically down-regulated (P<0.01). The protein levels of CpAK1 and CpAK2 showed similar trends to their mRNA expression under different temperature and humidity stresses. Conclusion The mRNA and protein levels of CpAK1 and CpAK2 vary significantly under different temperature and humidity stresses. In general, CpAK1 is up-regulated, while CpAK2 is down-regulated. It is speculated that CpAK1 and CpAK2 have different functions in the stress response of Cx. pipiens pallens.
  • WANG Dan, CHEN Dan-dan, TIAN Dong-dong, XU Xiu-ping, ZHOU Jing-zhu, SHI Wei-fang, LIANG Wen-qin
    Chinese Journal of Vector Biology and Control. 2022, 33(6): 787-792. https://doi.org/10.11853/j.issn.1003.8280.2022.06.004
    Abstract ( ) Download PDF ( )   Knowledge map   Save
    Objective To investigate the resistance level of Aedes albopictus to commonly used insecticides in Tongren of Guizhou province, China and the mechanism of metabolic resistance at the enzyme level, and to provide a theoretical basis for the control and resistance management of Ae. albopictus. Methods In August 2020, Ae. albopictus larvae were collected from small water containers in communities at different locations of Tongren and were reared to F1-F2 generations. The larval dipping method and the adult mosquito contact tube method were used to investigate the insecticide resistance of the larvae and adult mosquitoes of Ae. albopictus, and a microplate reader was used to measure the activity of non-specific esterase (NSE), mixed function oxidase (MFO), and glutathione-S-transferase (GST). SPSS 24.0 software was used to perform the statistical analysis of laboratory results, and Minitab 20 software was used to make charts. Results For the larvae of the field population of Ae. albopictus, the resistance ratios to deltamethrin, beta-cypermethrin, permethrin, temephos, and propoxur were 15.38, 7.88, 61.44, 1.70, and 1.90 folds, respectively. The 24 h mortality rates of adult mosquitoes due to deltamethrin, beta-cypermethrin, permethrin, malathion, and propoxur at diagnostic doses were 0, 58.00%, 2.13%, 79.25%, and 100%, respectively. The activities of NSE, MFO, and GST in the field population of Ae. albopictus were 1.21, 0.28, and 0.34 times, respectively, those in sensitive strains, and the activities of NSE, MFO, and GST in the field population showed a positively skewed distribution. Conclusion The Ae. albopictus larvae in Tongren have developed varying degrees of resistance to pyrethroid insecticides and remain sensitive to temephos or propoxur, while the adult mosquitoes are resistant to pyrethroid insecticides and malathion and sensitive to propoxur. Therefore, it is suggested to adopt comprehensive measures for the control of Ae. albopictus and use chemical insecticides scientifically and rationally, so as to effectively control the development and progression of insecticide resistance in Ae. albopictus.
  • Vector Surveillance
  • LI Zhi-tao, LIU De-xing, CHEN Jian, LI Ting-ting, WEI Xiao-ya, YUE Qiao-yun, GAN Xiang, DING Jin-yan, QIU De-yi, LIU Huan-yu
    Chinese Journal of Vector Biology and Control. 2022, 33(6): 793-799. https://doi.org/10.11853/j.issn.1003.8280.2022.06.005
    Abstract ( ) Download PDF ( )   Knowledge map   Save
    Objective To monitor the small mammal species in the four port areas of Zhongshan port (Zhongshan, Shenwan, Xiaolan, and Huangpu port areas) in China, and to investigate the parasites and natural pathogens carried by the small mammals. Methods From May 2020 to May 2022, small mammals were captured by night trapping with cages in the four port areas of Zhongshan port. Ectoparasites were collected from the small mammals, followed by nucleic acid extraction. The small mammals’ liver, spleen, lung, and kidney were harvested for nucleic acid extraction. The small mammals and ectoparasites were identified using the cytochrome c oxidase subunit Ⅰ gene, with the primers Batl5310/R6036R and LCO1490/HCO2198 for amplification, respectively. According to the standards for small mammal pathogen detection at frontier ports, the captured small mammals were examined for Yersinia pestis, hantavirus, pathogenic Leptospira, Bartonella, and Francisella tularensis. The Chi-square test was used to analyze the distribution of small mammals in the four port areas and the status of ectoparasite infestation and natural pathogen infection. Results A total of 1 630 trap-times were set in the four port areas of Zhongshan port, and 48 small mammals were captured. The average density was 2.94%. Five small mammals were caught in Zhongshan port area, 24 in Shenwan port area, 7 in Xiaolan port area, and 12 in Huangpu port area, with average densities of 1.23%, 5.88%, 1.73%, and 2.93%, respectively. A total of 34 ectoparasites were obtained, including 17 sucking lice, 12 mites, 4 fleas, and 1 tick. The small mammals’ louse, mite, flea, and tick infestation rates were 10.42%, 12.50%, 6.25%, and 2.08%, respectively. There were no significant difference in the four kinds of ectoparasite infestation rates of small mammals among the four ports (all P>0.05). Ten small mammals of three species were positive for Bartonella, with an overall positive rate of 20.83%; the positive rate was 50.00% in Huangpu port area, 16.67% in Shenwan port area, and zero in Zhongshan and Xiaolan port areas; 4, 1 and 5 mice were detected positive for Bartonella from 8 Rattus tanezumi, 3 R. norvegicus, and 37 Suncus murinus, respectively. Four Bartonella sequences were identified as B. tribocorum, B. queenslandensis, and B. phoceensis. The species of six sequences could not be determined. The strength of correlation (r) between small mammal species and Bartonella species was 0.765. All the captured small mammals were negative for Y. pestis, hantavirus, F. tularensis, and pathogenic Leptospira. Conclusion The density of small mammals at Zhongshan port is relatively high. The small mammals in all the port areas have ectoparasite infestation. The small mammals in two port areas are positive for Bartonella, with high infection rates. Sanitation management and small mammal-borne disease control should be strengthened.
  • HAN Ying-nan, LIU Yan, SUN Qin-tong, MENG Wei, SUN Lin, LAI Shi-hong, WANG Xue-jun, KANG Dian-min
    Chinese Journal of Vector Biology and Control. 2022, 33(6): 800-804. https://doi.org/10.11853/j.issn.1003.8280.2022.06.006
    Abstract ( ) Download PDF ( )   Knowledge map   Save
    Objective To investigate the prevalence of 4 rodent-borne pathogens in small mammals in some areas of Shandong province, China, and to provide a scientific basis for the prevention and control of rodent-borne diseases. Methods From 2020 to 2021, small mammals’ liver, kidney, spleen, and lung samples were collected in Dongying, Weifang, Weihai, Linyi, Binzhou, and Heze of Shandong province. TaqMan fluorescent probe-based real-time polymerase chain reaction (PCR) was used to detect Leptospira and Bartonella. TaqMan fluorescent probe-based real-time reverse transcription PCR (RT-qPCR) was used to detect hantavirus and severe fever with thrombocytopenia syndrome virus (SFTSV). Excel 2016 and SPSS 20.0 softwares were used for statistical analysis. Results A total of 973 small mammals were collected, including 454 Rattus norvegicus, 441 Mus musculus, 21 R. tanezumi, 52 Apodemus agrarius, 4 Sorex spp., and 1 species of Cricetulus. The assay of lung tissues showed that 26 (2.67%) were positive for hantavirus. The assay of liver, spleen, and kidney tissues showed that 13 (1.34%) were positive for Leptospira and 36 (3.70%) were positive for Bartonella. No SFTSV was detected. The co-infection rate with hantavirus and Bartonella was 0.62% in R. norvegicus. Conclusion Small mammals in Shandong province carry a variety of pathogens including hantavirus, Leptospira, and Bartonella. It is necessary to strengthen the rodent-borne pathogen surveillance in small mammals and optimize the prevention and control of rodent-borne diseases to reduce the risk of human infection.
  • ZHONG Jian-yue, WANG Jin-na, YANG Hui, CAO Guo-ping, WU Yu-yan, CHEN Wei-hua, YU Zhang-you, FANG Chun-fu
    Chinese Journal of Vector Biology and Control. 2022, 33(6): 805-808. https://doi.org/10.11853/j.issn.1003.8280.2022.06.007
    Abstract ( ) Download PDF ( )   Knowledge map   Save
    Objective To investigate the small mammal distribution and their infection with pathogens in rural areas of Quzhou, Zhejiang province, China, and to provide a scientific basis for the prevention and control of rodent-borne diseases in Quzhou. Methods From September 2020 to July 2021, the night snap trapping method was used to monitor small mammal species in Kecheng district and Longyou county of Quzhou. The viscera of small mammals, including liver, spleen, kidney, and lung, were collected. Quantitative real-time PCR was used to detect the nucleic acids of severe fever with thrombocytopenia syndrome virus (SFTSV), Orientia tsutsugamushi (Ot), Leptospira, and Hantavirus. Results A total of 210 small mammals were captured during the survey of Quzhou monitoring sites, with a capture rate of 8.44%. March, September, and November were the peak months of small mammal infestation. Apodemus agrarius (130/210, 61.91%) was the dominant species in rural areas of Quzhou, followed by Rattus tanezumi (32/210, 15.24%) and R. norvegicus (20/210, 9.52%). In terms of various habitats, R. tanezumi and R. norvegicus were the dominant species in rural residential areas, and A. agrarius was the dominant species in farmland and forest land. A total of 210 visceral specimens were collected from the small mammals, of which 13 (6.19%) were positive for hantavirus nucleic acid, 7 (3.33%) were positive for Leptospira nucleic acid, and SFTSV and Ot were not detected. There was a statistical difference between the detection rates of 4 pathogens (χ2=24.176, P<0.001). In terms of various small mammal species, hantavirus nucleic acid was detected only from A. agrarius, with a positive rate of 10.00% (13/130); Leptospira nucleic acid was detected from R. norvegicus, A. agrarius, and R. tanezumi, with positive rates of 5.00% (1/20), 3.85% (5/130), and 3.13% (1/32), respectively; there was no statistical difference between the positive rates (χ2=0.114, P=0.945). Some A. agrarius rodents were co-infected with hantavirus and Leptospira. Conclusion A. agrarius, R. tanezumi, and R. norvegicus are the dominant species in rural areas of Quzhou. A. agrarius carries hantavirus and Leptospira; R. tanezumi and R. norvegicus carry Leptospira. It is necessary to strengthen the publicity of prevention and control of rodent-borne diseases and carry out patriotic health campaigns of rodent control and disease prevention to reduce the risk of infection with rodent-borne diseases.
  • DUAN Biao, ZHANG Xue-hua, ZHAO Cai-feng, HONG Mei, SU Li-qiong, YANG Zhi-ming, PU Dan-ya
    Chinese Journal of Vector Biology and Control. 2022, 33(6): 809-814. https://doi.org/10.11853/j.issn.1003.8280.2022.06.008
    Abstract ( ) Download PDF ( )   Knowledge map   Save
    Objective To analyze the species composition, distribution, and fluctuation trend of main host animals and parasitic fleas on the body surface in an emerging field rodent plague focus in Yunnan province, China, to explore the relationship between the population ecological characteristics and the plague epidemic, and to provide a scientific basis for formulating plague prevention and control programs. Methods The surveillance data of plague hosts and vector fleas were collected at the monitoring site in Machang Village Committee, Heqing county, Yunnan province, 2012-2021. The descriptive statistical method was used to analyze the composition ratio and variation characteristics of the main host animals and vector fleas. Results During the survey period, 13 species of small mammals belonging to 11 genera, 6 families, 4 orders were discovered. There were 86 681 outdoor cages, and 3 618 small mammals were captured, with a capture rate of 4.17%, including 73.52% (2 660/3 618) of Eothenomys miletus and 18.71% (677/3 618) of Apodemus chevrieri. The main host animals and dominant species were E. miletus and A. chevrieri. A total of 3 082 fleas were discovered in 7 species belonging to 7 genera, 4 families. A total of 3 010 fleas were collected on the body surface of E. miletus and A. chevrieri, including 87.87% (2 645/3 010) of Ctenophthalmus quadratus, 11.20% (337/3 010) of Neopsylla specialis and 0.86% (26/3 010) of Frontopsylla spadix. N. specialis and F. spadix were the main vector fleas, and C. quadratus were the dominant species and the secondary vector fleas. Conclusion In the emerging plague focus in Heqing county, the population ecological characteristics of main host animals and vector fleas, such as the composition and fluctuation trend, were closely related to the plague epidemic. It is of great significance for the prediction and early warning of plague epidemic by monitoring and analyzing the population ecological characteristics of main host animals and vector fleas.
  • CHENG Shuo, SUN Qi, WANG Yan-dong, ZHANG Xue-qing, JING Xiao, WANG Xue-jun
    Chinese Journal of Vector Biology and Control. 2022, 33(6): 815-819. https://doi.org/10.11853/j.issn.1003.8280.2022.06.009
    Abstract ( ) Download PDF ( )   Knowledge map   Save
    Objective To understand the distribution, density, and seasonal fluctuation of Aedes albopictus and the resistance of larvae and adults to different insecticides in Zibo city, China, in order to provide a scientific basis for risk assessment, prediction, early warning, and effective prevention and control of dengue fever, and to provide a theoretical basis for scientific and rational use of insecticides. Methods The density of mosquito larvae was monitored by Breteau index (BI) and mosq-ovitrap (MOT) methods. The density of adult mosquitoes was monitored by double-layer net method. Insecticide resistance was detected by bioassays recommended by WHO, including dipping method for larvae and contact tube method for adults. Results Among mosquito larval breeding containers, bonsai and aquatic plants showed the highest container index (CI) of 36.46%. The larvae were detected by BI and MOT in late-April and mid-May, respectively, with the peaks in mid-August and late-July, and almost disappeared in late-October. The average BI of larvae was 19.98, and the highest BI was 75.00 in August. Adult mosquitoes were detected in late-June, peaked in mid-August, and disappeared in mid-October, with obvious seasonal fluctuation. The median lethal concentration (LC50) of Ae. albopictus larvae to propoxur and temephos were 3.600 0 mg/L and 0.006 0 mg/L, respectively, which were 9.89 and 3.75 times of the sensitive strain. Adult mosquitoes showed resistance to permethrin (0.4%), deltamethrin (0.03%), beta-cypermethrin (0.08%), and beta-cypermethrin (0.07%). They were suspected to be resistant to propoxur (0.05%), bendiocarb (0.2%), and fenitrothion (0.2%). They were sensitive to malathion (0.5%) and chlorpyrifos (2%). Conclusion Ae. albopictus is widely distributed and has a high density in Zibo city, which may lead to local epidemics due to imported dengue cases. In Zibo city, Ae. albopictus larvae had developed resistance to propoxur and disulphos, while adult mosquitoes showed resistance to pyrethroid insecticides. Surveillance on the density and drug resistance of Ae. albopictus should be strengthened, and insecticides should be used scientifically and reasonably to effectively prevent the spread of dengue fever.
  • LI Shi-hao, WANG Wei, ZHANG Jing, LI Pei-yu, LI Jin-yue, QIN Na
    Chinese Journal of Vector Biology and Control. 2022, 33(6): 820-822. https://doi.org/10.11853/j.issn.1003.8280.2022.06.010
    Abstract ( ) Download PDF ( )   Knowledge map   Save
    Objective To understand the density, distribution, seasonal fluctuation, and infection of Dengue virus of dengue vector Aedes albopictus in Tianjin, China, and to provide a scientific basis for the control, risk assessment, and early warning of dengue fever. Methods The Breteau index (BI) method was used to monitor the density of Ae. albopictus population from 2019 to 2021. Reverse transcription-polymerase chain reaction (RT-PCR) was performed to detect Dengue virus. SPSS 24.0 software was used for data analysis. Categorical data were compared by χ2 test. Results The BI were 0.57, 0.61, and 0.86 in Tianjin in the three years, respectively, and average BI value peaked in August. The container index (CI) were 1.05%, 1.25%, and 1.93% in the three years, respectively. A total of 27 000 female adults and larvae of Ae. albopictus were detected for dengue virus and all the results were negative. Conclusion The Ae. albopictus density was relatively low and Dengue virus were not found in them in Tianjin from 2019 to 2021. Nevertheless, environmental monitoring and management should be strengthened.
  • YANG Xin-yan, ZHONG Wen-bing, LIN Yi, CAI Fang, LIU Yi, KUANG Zhi-zheng
    Chinese Journal of Vector Biology and Control. 2022, 33(6): 823-827. https://doi.org/10.11853/j.issn.1003.8280.2022.06.011
    Abstract ( ) Download PDF ( )   Knowledge map   Save
    Objective To investigate the density changes of larvae and adults of dengue vector Aedes albopictus in the Meishe River basin in Haikou, Hainan province, China, and to provide scientific suggestions for the prevention and control measures of dengue fever. Methods Five surveillance sites were selected from densely populated regions of the Meishe River basin in Haikou. The Breteau index (BI) method and the double-layered mosquito net method were used to monitor the dengue vector Ae. albopictus throughout the year of 2021. WPS 2020 software was used to summarize and collate the surveillance results. SPSS 17.0 software was used to analyze the correlation between BI, container index (CI), and net trap index. The Chi-square test was used for comparison of rates. Results The mean BI was 25.33 and CI was 38.31% in 2021. There was a statistical difference in CI between the five surveillance sites (χ2=45.911, P<0.001). The net trap index of adult Ae. albopictus was 15.98 mosquitoes/net·hour. The density of mosquitoes in different habitats was in the following order: rural-urban fringe areas>residential areas>parks. The peak of Ae. albopictus density occurred from May to November. BI reached its peak in September, and the density of adult mosquitoes reached its peak in October. BI was positively correlated with CI and net trap index in the same period (r=0.720, P=0.008; r=0.709, P=0.010); CI was positively correlated with net trap index (r=0.623, P=0.030). The CI of temporary water containers and fixed water containers were 37.91% and 40.54%, respectively, with no statistical difference (χ2=0.735, P=0.391). There was a statistical difference in CI between the nine types of breeding sites (χ2=95.097, P<0.001). Specifically, waste tires had the highest CI (67.03%). Conclusion The density of Ae. albopictus in the Meishe River basin is relatively high. Once dengue cases occur, there is a risk of local epidemic. Comprehensive environmental management should be strengthened to eliminate mosquito breeding sites to prevent mosquito infestation.
  • JIANG Han-peng, RAO Zhi-yun, LING Chun-yan, YANG Xing-hua, XIE Jun
    Chinese Journal of Vector Biology and Control. 2022, 33(6): 828-833. https://doi.org/10.11853/j.issn.1003.8280.2022.06.012
    Abstract ( ) Download PDF ( )   Knowledge map   Save
    Objective To investigate Aedes albopictus in Fuzhou city, Jiangxi province, China in terms of population density, seasonal variation, and resistance to commonly used insecticides, and to provide a basis for rational use of insecticides and scientific prevention and control of dengue fever epidemic with reference to the current status of the application of hygienic insecticides. Methods In May to October of 2021, the population density of Aedes was monitored in the three habitats of residential area, park, and construction site in three districts of Fuzhou; the double mosquito net method was used for adult mosquitoes, and Breteau index (BI) and the dipping method were used for larval mosquitoes. In June and July, adult and larval Ae. albopictus mosquitoes were collected in the field at different locations of three districts in Fuzhou and were then reared to F1 generation in the laboratory; the larval dipping method and the adult mosquito contact tube method recommended by the WHO were used, and the Probit method in SPSS 22.0 regression analysis was used to obtain median lethal concentration (LC50) and regression equation to evaluate the level of resistance to hygienic insecticides. The methods of on-site inspection and questionnaire survey were used to obtain the information on the application of hygienic insecticides by patriotic health campaign committees and centers for disease control and prevention at all levels, and pest control operation enterprises in the past three years. Results The mean net trap index was 0.83 mosquitoes/trap·hour, and the mean BI value was 1.83 in the urban areas of Fuzhou in 2021. The density of density of adult and larval Ae. albopictus mosquitoes showed a similar trend of season variation with two peaks in June and August. Adult Ae. albopictus mosquitoes showed a certain level of resistance to beta-cypermethrin, deltamethrin, and permethrin, and were sensitive to propoxur, malathion, and fenitrothion; larval Ae. albopictus mosquitoes showed varying degrees of resistance to cypermethrin, beta-cypermethrin, deltamethrin, and propoxur (with a resistance ratio of 5.58- to 68.06-fold) and were sensitive to temephos. A total of 19 hygienic insecticides were used in the urban area of Fuzhou in 2019-2021, mainly the insecticides with pyrethroids as the effective constituent, which accounted for 83.33%, 70.00%, and 80.00%, respectively. The total amount of hygienic insecticides used in these three years was 6 653.00, 5 351.40, and 5 893.00 kg, respectively, mainly pyrethroids, organophosphate pesticides, and their mixtures, accounting for 75.15%-85.17% of the total amount. Organophosphate granules were mostly used for the prevention and control of the larvae of mosquitoes and flies, and pyrethroids were mainly used for the prevention and control of adult mosquitoes and flies and were often mixed with carbamates or organophosphate pesticides. Conclusion It is recommended to strengthen the monitoring of the population density and insecticide resistance of Ae. albopictus, reduce the use of pyrethroids with high resistance, and use sensitive or low-resistance insecticides alternately, so as to delay the development of insecticide resistance.
  • WANG Hong-yu, ZHAO Wan-ying, SHI Hao-ning, YANG Yan-qing, HUO Xi-yuan, LIU Guo-jun, HOU Xiang, TANG Yun-feng, LI Jing
    Chinese Journal of Vector Biology and Control. 2022, 33(6): 834-837. https://doi.org/10.11853/j.issn.1003.8280.2022.06.013
    Abstract ( ) Download PDF ( )   Knowledge map   Save
    Objective To analyze ecological characteristics of rodents of rodent population density, seasonal fluctuation, interannual variation and habitat differences, and their correlation with meteorological factors by rodent monitoring data of 2013-2019 in Weifang, Shandong province, China, and to provide a scientific basis for effective prevention and control of rodent-borne diseases in Weifang. Methods The rodent density was monitored monthly using the night trapping method in selected urban residential areas, special industries, and rural villages across Weifang. SPSS 26.0 and R 4.2.1 were used for statistical analysis. Results A total of 301 rodents were captured in Weifang from 2013 to 2019. Rattus norvegicus was the dominant species, accounting for 61.13% of the total catches, and Mus musculus accounted for 35.22%, with an overall rodent density of 0.64%. Among the three habitats, rodents were more frequently captured in rural villages, accounting for 54.49% of the total catches. The rodent density peaked during January to March in each year, and the densities of R. norvegicus and M. musculus peaked in February. The wavelet analysis showed that monthly rodent density had wavelet correlations with monthly average temperature, monthly average precipitation, and monthly average relative humidity, with a negative correlation with monthly average relative humidity. Conclusion Rodent control measures should be based on the inhabiting habits and activity patterns of different rodent species, to effectively reduce rodent density and control rodent-borne diseases.
  • Vector-borne Disease
  • JIANG Ke, XIONG Hao-ming, TIAN Fu-zhang, HE Duo-long, ZHANG Ai-ping, YANG Jian-guo, LI Xiang, GUO Wen-tao, LI Wei
    Chinese Journal of Vector Biology and Control. 2022, 33(6): 838-842. https://doi.org/10.11853/j.issn.1003.8280.2022.06.014
    Abstract ( ) Download PDF ( )   Knowledge map   Save
    Objective To analyze the situation and characteristics of human plague epidemics in the Sanjiangyuan region, Qinghai province, China from 1958 to 2021, and to provide a scientific basis for formulating practical preventive measures against plague. Methods The data on human plague cases in the Sanjiangyuan region were collected from the human plague database of Qinghai Institute for Endemic Disease Control and Prevention. With Excel 2010, SPSS 26.0, and ArcMap 10.2 softwares, descriptive epidemiological methods were used to analyze the annual change, epidemic trend, seasonal distribution, regional distribution, population distribution, source of infection, route of transmission, and type of human plague in the Sanjiangyuan region. Results From 1958 to 2021, there were a total of 90 human plague epidemics in the Sanjiangyuan region, involving 253 cases and 138 deaths, with a mortality rate of 54.55% (138/253). There were 164 males and 89 females in all cases. Excluding four cases of unknown age, among the remaining 249 cases, young adults aged 16-30 years accounted for the highest proportion, which was 39.76% (99/249). The majority of the cases were Tibetan (205 cases). In occupational distribution, pastoralists accounted for 80.20% of the total cases. Human plague occurred during May to November, peaking in August. In the past 64 years of the Sanjiangyuan region, the situation of human plague was most serious in Yushu Tibetan Autonomous Prefecture, where Qumalai county had 15 outbreaks (48 cases), Yushu city had 15 outbreaks (41 cases), and Nangqian county had 12 outbreaks (37 cases). First cases were mainly caused by exposure to marmot infection through butchering and eating, followed by flea bites. Most first cases were bubonic plague (71 cases). Among all cases, pneumonic plague was the most common type, involving 161 cases (128 primary and 33 secondary cases). Conclusion The human plague situation in the Sanjiangyuan region remains unfavorable, which requires multiple preventive measures to effectively control human plague epidemics.
  • GUI You-jun, WANG Xin-hui, WANG Qi-guo, ZHANG Xiao-bing, WANG Cheng, LI Bing, BAOKAIXI Guliayi, LUO Yong-jun, WANG Xiao-jun
    Chinese Journal of Vector Biology and Control. 2022, 33(6): 843-848. https://doi.org/10.11853/j.issn.1003.8280.2022.06.015
    Abstract ( ) Download PDF ( )   Knowledge map   Save
    Objective To retrospectively analyze the prevalence and control of plague in Xinjiang Uygur Autonomous Region (Xinjiang), China from1901 to 2020, and to provide a reference for future plague control. Methods Through consulting the literature, collecting archives and monitoring data from the Xinjiang Center for Disease Control and Prevention, and using retrospective epidemiological methods, the epidemic pattern and prevention of human plague and animal plague in Xinjiang were analyzed. Results Before the founding of new China, there were 12 human plague outbreaks, causing over 100 000 deaths. After the founding of new China, there were 12 human plague outbreaks, with 47 plague cases, causing 28 deaths, with a fatality rate of 59.57%. Up to now, four major types of natural plague foci have been found in Xinjiang (330 000 km2), distributed in 25 counties/cities/districts. Seventy-five species of 34 genera of 10 families of rodents were discovered, and 2 058 strains of Yersinia pestis were isolated from rodents. Conclusion The natural plague foci in Xinjiang cover a large area, and the animal plague is persistently prevalent. In order to effectively control and rapidly cope with the plague epidemic and ensure the smooth implementation of the Belt and Road Initiative, the construction of plague prevention and control system should be strengthened.
  • SHI Wen-jun, WAN Han-bing, WANG Zhao-jun, SHI Lei, YUE Jun, SI Ri-meng, YANG Xiao-hui
    Chinese Journal of Vector Biology and Control. 2022, 33(6): 849-853. https://doi.org/10.11853/j.issn.1003.8280.2022.06.016
    Abstract ( ) Download PDF ( )   Knowledge map   Save
    Objective To analyze the epidemic situation of animal plague and the risk factors for human plague in Baotou, Inner Mongolia, China, 2019-2020, and to provide a scientific basis for formulating plague prevention and control measures. Methods The data and summary of animal and human plague epidemic in Baotou from 2019 to 2020 were collected from the Management Information System for Plague Control of Chinese Disease Prevention and Control Information System. The time distribution, spatial distribution, and geographical landscape distribution of animal epidemic foci and human epidemic situation were analyzed by the descriptive epidemiological method. Results A total of 27 animal plague epidemics occurred in Baotou in 2019-2020, and 50 strains of Yersinia pestis were detected. The duration, prevalence, and strength of animals plague in grassland of pastoral areas were significantly higher than those in agricultural areas. There was no human epidemic from 2019 to July 2020 because of the sparse population in pastoral areas (1 person/km2). Two human plague epidemics occurred in August 2020, including 1 local plague case in the relatively densely populated agricultural area (27 persons/km2) and 1 imported plague case, both of whom died. Conclusion The plague among animals in Baotou is prevalent violently and leads to human plague. Lessons should be learned from the epidemics. The prevention and control measures against the risk factors should be taken and be maintained to prevent the recurrence of human plague and long-distance transmission.
  • BAO Lei, LI Yuan-yuan, LI Hai-yan, YANG Hong-mei, REN Jian-nan, WANG Yu
    Chinese Journal of Vector Biology and Control. 2022, 33(6): 854-858. https://doi.org/10.11853/j.issn.1003.8280.2022.06.017
    Abstract ( ) Download PDF ( )   Knowledge map   Save
    Objective To analyze the epidemiological characteristics of typhus in Xishuangbanna Dai Autonomous Prefecture (Xishuangbanna Prefecture), China, and to provide a scientific basis for typhus prevention and control. Methods Data related to typhus in Xishuangbanna Prefecture from 2016 to 2020 were collected from the Chinese Disease Control and Prevention Information System. Descriptive epidemiological methods, Chi-square test, correlation analysis, and regression analysis were used to analyze the data. Results The five-year average annual incidence of typhus in Xishuangbanna Prefecture was 9.40/100 000 (n=554), with the highest incidence reported in Mengla county (31.15/100 000, n=457). The incidence was concentrated in the urban area and some townships of Mengla county, with a male-female ratio of 1∶1.12, mainly in farmers, followed by students. The reported incidence was obviously seasonal and peaked from May to October, which was also the peak period of the local indoor rodent density and the monitoring index of Xenopsylla cheopis on the body of rodents. The number of reported cases in the current month was positively correlated with the indoor rodent density in the last month (r=0.777, P=0.003), and also positively correlated with the index of X. cheopis in rodents in the last month (r=0.772, P=0.003). Conclusion Some townships in Mengla county, Xishuangbanna Prefecture may have natural foci of endemic typhus, and rodents and fleas in rodents may be the determinants of typhus epidemic. It is suggested that the local government should focus on the rural areas and rural-urban fringes, conduct health education for susceptible populations, and strengthen the monitoring and control of animals in potential epidemic foci to prevent and control the epidemic of typhus.
  • LIU De-xing, LI Ting-ting, WEI Xiao-ya, YUE Qiao-yun, QIU De-yi, KE Ming-jian, NIE Wei-zhong, CHEN Jian
    Chinese Journal of Vector Biology and Control. 2022, 33(6): 859-864. https://doi.org/10.11853/j.issn.1003.8280.2022.06.018
    Abstract ( ) Download PDF ( )   Knowledge map   Save
    Objective To identify the species of two cockroaches intercepted in the import containers at Zhongshan port in China by morphological and molecular methods. Methods A female cockroach and a cockroach nymph were intercepted in the imported containers from Nigeria at Zhongshan port in November, 2021. The morphological characteristics of the female cockroach were retrieved by the morphological method, and the genomic DNA was extracted from the two cockroaches. The gene segment of mitochondrial cytochrome c oxidase subunit Ⅰ (COⅠ) was amplified by polymerase chain reaction and sequenced, and the sequencing results were compared in GenBank. The phylogenetic tree was constructed by neighbor-joining method. Results The female cockroach was morphologically identified as Diplopterina parva. The COⅠ gene sequences of the two cockroaches did not compare the homologous species with a similarity of more than 98% in GenBank, but the similarity of the COⅠ gene sequences of the two cockroaches was >98%. The cockroach nymph was identified as D. parva. It has been verified that no distribution of this species has been seen in China. Conclusion The two cockroaches intercepted in the imported containers at Zhongshan port are identified as D. parva by morphological and molecular methods, which is a non-recorded species in China.
  • Technology and Method
  • GUO Xu-dong, ZHAO Rong-tao, YUAN Zheng-quan, XU Lu, WANG Shen, LIU Yu, YANG Zhen-zhou, SHI Hua
    Chinese Journal of Vector Biology and Control. 2022, 33(6): 865-868. https://doi.org/10.11853/j.issn.1003.8280.2022.06.019
    Abstract ( ) Download PDF ( )   Knowledge map   Save
    Objective To investigate the application of unmanned aerial vehicle (UAV) in collecting mosquito specimens and the distribution of mosquitoes at different heights. Methods From late August to early September in 2021, UAV flying with a sweep net (UAVN) was used to collect mosquitoes in a farm in Tianjin, China, and the efficiency of collecting mosquitoes was compared between UAVN and the labor hour method (LHM). The distribution of mosquitoes at different heights was analyzed using UAVN. Results UAVN had a higher efficiency of collecting mosquitoes than LHM (34.75 mosquitoes/10 minutes vs 3.38 mosquitoes/10 minutes). The sweep net carried by UAV collected the highest number of mosquitoes at the height of 5.00 m, and mosquitoes were hardly caught when height exceeded 12.00 m or wind speed exceeded 4.00 m/s. Conclusion UAVN has the advantages of no restrictions on terrain and habitat and high efficiency in collecting mosquito specimens. It and can be used as a tool for mosquito specimen collection. Mosquitoes are mainly distributed in the lower space; however, mosquitoes would fly up and down under the agitation of the UAV fan, which may lead to differences between experimental results and actual distribution, and therefore, further studies are needed for clarification.
  • LI Bing-hui, LIU Yan-tao, MA Xiao-fang, WANG Wei, SONG Fu-cheng, SUN Geng-xiao, JIANG Hong-rong, FU Qi-qi
    Chinese Journal of Vector Biology and Control. 2022, 33(6): 869-872. https://doi.org/10.11853/j.issn.1003.8280.2022.06.020
    Abstract ( ) Download PDF ( )   Knowledge map   Save
    Objective To discuss and compare four methods for analyzing the seasonal fluctuation trend of mosquito. Methods The graphic method, cluster analysis, seasonal index, and run test were used to seasonally analyze the monitoring data of adult mosquitoes at national mosquito monitoring sites in Qingdao, China, 2017-2021, and the application effects of four methods were compared by descriptive analysis. WPS 2012 software was used to collate data, and the graphic method and seasonal index analysis. SPSS 23.0 software was used for cluster analysis and run test analysis. Results Graph method, cluster analysis, and seasonal index showed that the fluctuation trend of adult mosquitoes had seasonal characteristics, and the peak of seasonal fluctuation was concentrated in June to September. The run test showed that the fluctuation trend of adult mosquitoes had statistically significant seasonal characteristics (Z=-2.119, P=0.034). Conclusion The four methods can be used to analyze and determine the seasonal fluctuation trend of mosquito. The peak period of seasonal fluctuation can be obtained by the graphic method, cluster analysis, and seasonal index, and the statistical significance can be determined by the run test. Researchers can flexibly choose or combine various methods according to their research objectives and work needs.
  • Investigation
  • DONG Li, LI Gui-chang, WANG Bin, LU Liang, ZHAO Ning, WAN Xin-rong, LIU Wei, HU Bin, XING An, LI Qing-duo, LI Chao, WANG Zhen-xu, ZHANG Lu, LIU Yu-qiu, MA De-long, PAN Jin-chao, HE Hong-xuan, MA Wei, LIU Qi-yong
    Chinese Journal of Vector Biology and Control. 2022, 33(6): 873-878. https://doi.org/10.11853/j.issn.1003.8280.2022.06.021
    Abstract ( ) Download PDF ( )   Knowledge map   Save
    Objective To investigate the species composition and spatiotemporal distribution of chigger mites parasitized on the body surface of rodents in the grasslands of eastern Inner Mongolia Autonomous Region (Inner Mongolia), China. Methods The snap trap and cage trap methods were used to capture rodents in eight survey sites distributed in Xilin-Gol League, Hulun-Buir, and Tongliao of eastern Inner Mongolia in May, July, and September, 2021. Parasitic chiggers were collected from the body surface of the rodents. Then the specimens were made for morphological identification. The infestation rate (IR) and index of chigger mites (IC) were calculated for each survey site, month, and rodent species, and the statistical differences were analyzed using Chi-square test. Results A total of 1 232 chigger mites were collected from the bodies of 672 rodents, which belonged to three species of three genera of two families, namely, Leptotrombidium oblongatum, Multisetosa ochotonae, and Ascoschoengastia crassiclava. L. oblongatum was the dominant species, accounting for 97.02%. Their main hosts included Lasiopodomys brandtii, Meriones unguiculatus, and Cricetulus barabensis. These chigger mites were mainly distributed in two survey sites, i.e., New Barag Right Banner in Hulun-Buir and East Ujimqin Banner in Xilin-Gol League. They were active in May, July, and September, and showed an increasing trend with month. Conclusion There are few species of chigger mites on rodents in the grasslands of eastern Inner Mongolia. The dominant chigger species has a wide distribution, a long time of infestation, and diverse hosts.
  • ZENG Wen-bo, LI Zhong-qiu, WEI Zi-xin, CHENG Dong-hui, YANG Li-min, FANG Yuan, ZHANG Yi
    Chinese Journal of Vector Biology and Control. 2022, 33(6): 879-887. https://doi.org/10.11853/j.issn.1003.8280.2022.06.022
    Abstract ( ) Download PDF ( )   Knowledge map   Save
    Objective To investigate tick species and distribution in different locations and habitats in Shanghai, China, and to provide basic data for the prevention and control of tick-borne diseases. Methods From April to November, except August, in 2021, the drag-flag method was used to collect questing ticks in vegetation at 13 investigation sites in Songjiang, Huangpu, Chongming, Jiading, Baoshan, Jing’an, Putuo, and Minhang districts. After morphological identification, the 16S rRNA and cytochrome c oxidase subunit Ⅰ (COⅠ) gene were amplified to identify the tick species and construct a phylogenetic tree. Results A total of 1 937 questing ticks were collected, which belonged to 3 species from 2 genera, i.e., Haemaphysalis flava (92.36%), H. longicornis (6.66%), and Rhipicephalus microplus (0.98%). Specifically, 400 ticks (20.65%) belonging to H. flava and R. microplus were collected from wooded hillsides; 1 341 (69.23%) belonging to H. flava and H. longicornis were collected from parks and scenic spots; 82 (4.23%) belonging to H. flava were collected from rural wild lands; 114 (5.89%) belonging to H. flava were collected from urban green lands. The phylogenetic tree showed that the collected same tick species were in the same evolutionary branch. Conclusion There are three species of questing ticks in different habitats in Shanghai. The species and number of ticks vary across habitats. H. flava is the dominant species in each type of habitat.
  • ZHANG Dan, SE Yong-jun, FU Guo-ming, HE Zhao-kai, LYU Dong-yue, CHUN Hua, DUAN Ran, QING Shuai, LIANG Jun-rong, XIAO Meng, JING Huai-qi, WANG Xin
    Chinese Journal of Vector Biology and Control. 2022, 33(6): 888-894. https://doi.org/10.11853/j.issn.1003.8280.2022.06.023
    Abstract ( ) Download PDF ( )   Knowledge map   Save
    Objective To investigate the reasons for the abnormal deaths of wild Pseudois nayaur in Gansu province, China. Methods By molecular cloning, 16S rRNA gene clones were selected from the nucleic acid of multiple specimens. The gene sequences were obtained by sequencing technology and compared with the sequences in National Center for Biotechnology Information database by the basic local alignment search tool. By combining with the multiplex polymerase chain reaction (PCR) for flagellin gene, the causes of the deaths were analyzed. Results Total 35 abnormally died wild P. nayaur were found from December 2018 to April 2020. The 16S rRNA gene sequences of pathogenic Clostridium species were found in the nucleic acid of five tissue specimens from four P. nayaur. The abundance of pathogenic Clostridium spp. was the highest in the nucleic acid of three specimens from two P. nayaur (61.90%-91.12%). Among the 16S rRNA gene clones in the nucleic acid of the other specimens, the abundance of non-Clostridium spp. was the highest, and the abundance of normal intestinal bacteria of ruminant was the highest in the specimens from five P. nayaur. Conclusion The multiple infection of Clostridium spp. might be the main cause of death of these wild P. nayaur in this study, and translocation of normal intestinal bacteria might be the secondary cause of death of these wild P. nayaur.
  • ZHANG Chen-xi, LI Jian-yun, LIU Fang, FENG Yi-lan, FAN Meng-guang
    Chinese Journal of Vector Biology and Control. 2022, 33(6): 895-899. https://doi.org/10.11853/j.issn.1003.8280.2022.06.024
    Abstract ( ) Download PDF ( )   Knowledge map   Save
    Objective To summarize and analyze the species and number of vector fleas and the current situation of Yersinia pestis in them in the plague foci of Meriones unguiculatus in Ulanqab Plateau, Inner Mongolia, China, 2011-2020, and to analyze the epidemic characteristics of plague in natural foci, in order to provide a theoretical basis for the prevention and control of plague. Methods Year-round flea monitoring was carried out in 20 banners (counties) of leagues (cities) in plague foci of M. unguiculatus in Ulanqab Plateau, Inner Mongolia. Sampling was stratified by habitats, and various rodent ectoparasitic fleas and nest fleas were captured and were identified using opaque specimens, counted, and registered for the isolation of Y. pestis. Excel 2003 software was used to analyze the species and number of fleas and Y. pestis infection in different years by descriptive epidemiology. Results From 2011 to 2020, a total of 41 930 fleas were collected from the plague foci of M.unguiculatus in Ulanqab Plateau, Inner Mongolia, including 3 superfamilies, 5 families, 14 genera, and 28 species (subspecies). The number of species of fleas captured each year varied from 17 to 23, with an average of 18.8 species per year. The number of fleas captured in each year were 2 012-7 979, with an average of 4 193 fleas captured each year. Yersinia pestis was isolated from 163 fleas of 3 species (subspecies) in 5 years, including 9 fleas of 1 species in 2011, 53 fleas of 2 species in 2017-2018, and 101 fleas of 3 species in 2019-2020. The flea infection rate of M. unguiculatus was 22.72% and the flea index was 0.67. Conclusion In recent years, the ecological environment of Ulanqab Plateau in Inner Mongolia changed due to natural and social factors, the species, number, and Y. pestis infection of plague-vector fleas showed some new characteristics. Nosopsyllus laeviceps. Xenopsylla conformis, and Neopsylla bidentatiformis were the dominant species, while the Neo. pleskei orientalis decreased greatly. In the future, it is necessary to further strengthen the monitoring and research of vector fleas in this area to prevent the spread of plague to humans.
  • YANG Pu-yi, LI Jian-yun, ZHANG Zhe
    Chinese Journal of Vector Biology and Control. 2022, 33(6): 900-905. https://doi.org/10.11853/j.issn.1003.8280.2022.06.025
    Abstract ( ) Download PDF ( )   Knowledge map   Save
    Objective To investigate the content of metal elements in soil of different types of natural plague foci in Inner Mongolia Autonomous Region in 2021, and to compare and analyze the differences in the content of metal elements in soil of different types of natural plague foci. Methods Soil samples were collected from the natural plague foci of Spermophilus dauricus, Microtus brandti, and Meriones unguiculatus in Inner Mongolia Autonomous Region. An X-ray fluorescence analyzer was used to measure the content of 13 metal elements such as potassium, iron, and calcium in soil. Excel 2021 software was used for data collection and analysis, and SPSS 20.0 software was used to conduct independent samples t-test, Mann-Whitney U test, and Pearson correlation analysis. Results Statistical differences were found in the contents of potassium (t=-3.058, P=0.012) and rubidium (t=-2.717, P=0.007) between the plague foci of S. dauricus and M. brandti, the contents of iron (Z=-4.416, P<0.001), zinc (t=-3.186, P=0.005), manganese (t=-4.471, P<0.001), titanium (Z=-2.598, P=0.017), vanadium (Z=-2.184, P=0.029), and nickel (t=-2.799, P=0.011) between the plague foci of S. dauricus and M. unguiculatus, and the contents of potassium (t=3.910, P=0.001), calcium (Z=-2.974, P=0.003), and rubidium (t=6.176, P<0.001) between the plague foci of M. brandti and M. unguiculatus. The contents of potassium, copper, titanium, vanadium, and chromium in the soil of M. brandti plague foci were higher than those in S. dauricus and M. unguiculatus plague foci. The contents of iron, calcium, zinc, manganese, lead, nickel, arsenic, and rubidium in the soil of M. unguiculatus plague foci were higher than those in S. dauricus and M. brandti plague foci. Apart from chromium, the other 12 metal elements were related in three types of plague foci (all P<0.05). Conclusion The soil of three types of plague natural foci in Inner Mongolia Autonomous Region is rich in potassium, iron, and calcium elements. There are differences in the distribution of most metal elements in the soil among the three types of plague natural foci, and there are correlations between the metal elements.
  • TIAN Feng, GENG He-yuan, XIAHOU Wei-min, ZHANG Zi-long, GUO Qiang, ZHAO Dan-yun, SUN Yu-ting, SHI Yan, CAI Xiao-xue, CHEN Chao-yi, JIANG Lu, CHENG Hui
    Chinese Journal of Vector Biology and Control. 2022, 33(6): 906-911. https://doi.org/10.11853/j.issn.1003.8280.2022.06.026
    Abstract ( ) Download PDF ( )   Knowledge map   Save
    Objective To investigate the rodent species and carried ectoparasites and pathogens at Horgos port in Xinjiang, China. Methods Rodents were captured by day snap-trapping and night snap-trapping methods at Horgos port in 2020. Morphological identification was carried out for the captured rodents and ectoparasites. The spleen and lung tissues of rodents were collected. Anaplasma phagocytophilum, Borrelia burgdorferi, Yersinia pestis, and spotted fever group rickettsiae in the spleen tissue were measured by polymerase chain reaction (PCR). Hantavirus nucleic acid in the lung tissue was measured by reverse transcription-PCR. Results In 2020, 142 rodents of 9 species were caught at Horgos port, and the dominant species were Apodemus sylvaticus and Rhombomys opimus. There were 25 parasitic ticks on the body surface belonging to 4 species, and the dominant species was Ixodes persulcatus. There were 203 parasitic fleas on the body surface belonging to 8 species, and the dominant species was Xenopsylla minax. Of the rodent ticks, 8 ticks tested positive for A. phagocytophilum nucleic acid, and 1 tick tested positive for spotted fever group rickettsiae nucleic acid; Y. pestis, hantavirus, and B. burgdorferi were not detected. Conclusion The composition of rodents and ectoparasites, as well as the carried pathogens at Horgos port provide some valuable reference for the prevention and control of rodents, ticks, fleas and related diseases in the local area.
  • Review
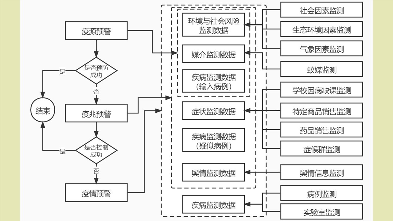
  • TAN Ruo-yun, LIN Jun-fen, LI Fu-dong, XIE Lu, ZHANG Xin-yue, MA Hai-yan
    Chinese Journal of Vector Biology and Control. 2022, 33(6): 912-918. https://doi.org/10.11853/j.issn.1003.8280.2022.06.027
    Abstract ( ) Download PDF ( )   Knowledge map   Save
    Mosquito-borne diseases are still relatively common in China, and effective monitoring and early warning is an important part of the response to the epidemic. At present, the early warning means of infectious diseases show a trend of diversification and development to big data. In order to promote the multi-stage multi-point early warning research of mosquito-borne infectious diseases, this paper divides the early warning into three stages according to the occurrence and development process of infectious disease epidemic and reviews the early warning at different stages of mosquito-borne infectious diseases in China and abroad, providing a reference for the prevention and control research and practice of mosquito-borne infectious diseases.